- Какие характеристики имеет товар Мотор-редуктор 3МП-40-28-1,5? ❯
- Какова цена товара Мотор-редуктор 3МП-40-28-1,5 и актуальна ли она? ❯
- К какой категории относится товар Мотор-редуктор 3МП-40-28-1,5? ❯
- Можно ли заказать доставку товара Мотор-редуктор 3МП-40-28-1,5? ❯
- Какие преимущества покупки Мотор-редуктор 3МП-40-28-1,5 именно у этого производителя KrepZevs? ❯
- Где можно найти другие товары, похожие на Мотор-редуктор 3МП-40-28-1,5? ❯
- ПроизводительKrepZevs
- НаличиеВ наличии
- ТипМотор-редуктор
- Тип редуктораПланетарный
- Все характеристики
- Минимальная суммазаказа - 2000 грн
- Надежное сырье и оборудование: Компания использует проверенное сырье и современное оборудование для производства крепежных элементов.
- Опытная команда: Производством стандартных и специальных решений занимается команда профессионалов.
- Сотрудничество с производителями: Компания сотрудничает с ответственными заводами-производителями из Украины и Европы.
Планетарный мотор-редуктор 3МП-40-28-1,5
Мотор-редуктор 3МП-40-28-1,5 снижает частоту вращения вала и передает крутящий момент механизмам общемашиностроительного назначения. В оборудовании, использующемся для подъема грузов, этот тип преобразователей не используется.
Устанавливать мотор-редукторы можно в помещениях и под навесом. Рабочий температурный диапазон для модели 3МП-40-28-1,5 – от -45 до +45 градусов. Рекомендуемая концентрация пыли в воздухе – до 10 мг/м3, уровень влажности – до 80%. Предусмотрена возможность вертикального и горизонтального монтажа на лапах или при помощи фланцевого соединения.
Редукторы типа 3МП комплектуются асинхронными двигателями. В модели 3МП-40-28-1,5 используется двигатель АИР90L6 мощностью 1,5 кВт. Номинальная частота вращения выходного вала – 28 об/мин. Устройство отличается большой продолжительностью непрерывной работы (до 24 часов в сутки), высоким КПД и компактными габаритами.
Условия использования мотор-редукторов 3МП-40
|
Характеристика |
Значение |
|
Тип нагрузки |
Переменная, постоянная |
|
Режим работы |
Длительная, с периодическими остановками |
|
Направление вращения тихоходного вала |
Однонаправленное, реверсивное |
|
Температурный диапазон |
От -45 до +45 градусов |
|
Климатическое исполнение |
У, Т, категория размещения 2, 3 |
|
Внешняя среда |
Невзрывоопасная, неагрессивная, содержание непроводящей пыли не превышает 10 мг/м3 |
Основные технические характеристики мотор-редуктора 3МП 40-28-1,5:
|
Характеристика |
Значение |
|
Номинальная частота вращения выходного вала, об/мин |
28 |
|
Количество ступеней |
2 |
|
Комплектующий электродвигатель, марка |
АИР90L6 |
|
Мощность электродвигателя, кВт |
1,5 |
|
Допускаемая радиально-консольная нагрузка на выходном валу, Н |
4200 |
|
КПД редукторной части, % |
97 |
|
Масса редукторной части, кг |
57 |
Купить мотор-редуктор 3МП-40-28-1,5 по цене на 3-10% ниже рыночной предлагает компания «Зевс». Для оптовых клиентов у нас предусмотрены скидки. Дополнительные сведения об оборудовании, а также информацию, касающуюся его покупки, вы можете получить у наших менеджеров.
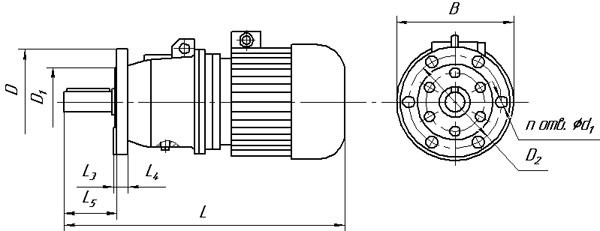
Габаритные и присоединительные размеры мотор-редукторов 3МП (исполнение - на лапах)

|
Обозначение мотор-редуктора |
Частота вращения выходного вала, об/мин |
L |
B |
H |
L 1 |
L 2 |
B 1 |
B 2 |
H 1 |
H 2 |
H 3 |
d1 |
|
Не более |
||||||||||||
|
3МП-40 |
18…90 |
625 |
250 |
247 |
110 |
170 |
180 |
220 |
112 |
22 |
- |
20 |
Габаритные и присоединительные размеры мотор-редукторов 3МП (исполнение - фланец)

|
Обозначение мотор-редуктора |
Частота вращения выходного вала, об/мин |
L |
B |
L 3 |
L 4 |
L 5 |
D |
D 1 |
D 2 |
d 2 |
n |
|
Не более |
|||||||||||
|
3МП-40 |
18…90 |
625 |
250 |
6 |
16 |
90 |
200 |
130 |
165 |
15 |
6 |
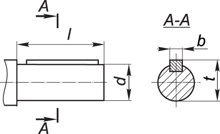
Присоединительные размеры цилиндрических валов мотор-редуктора 3МП

|
Мотор-редуктор |
d |
l |
b |
t |
|
3МП-40 |
35k6 |
80 |
10 |
38 |
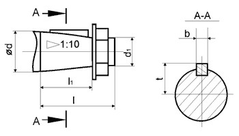
Присоединительные размеры конических валов мотор-редуктора 3МП

|
Мотор-редуктор |
d |
D1 |
1 |
11 |
b |
t |
|
3МП-40 |
35 |
М20х1,5 |
80 |
58 |
6 |
18,55 |
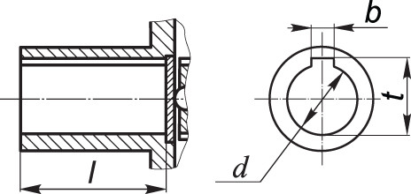
Присоединительные размеры полых валов мотор-редуктора 3МП

|
Мотор-редуктор |
d |
1 |
b |
t |
|
3МП-40 |
30Н7 |
70 |
8 |
33,1 |
Варианты сборки мотор-редуктора 3МП-40


Мотор-редуктор 3МП-40-28-1,5
Технические характеристики
- ТипМотор-редуктор
- Тип редуктораПланетарный
- Количество рабочих ступеней2
- Вес57
- Расположение валов редуктораГоризонтальное
- Способ крепленияна лапки, фланцевый
- Частота вращения выходного вала28
- Тип рабочей нагрузкипостоянная, переменная
- Материал корпусаСталь|Чугун|Алюминий
- СостояниеНовое
Нет отзывов об этом товаре.
