- Какие характеристики имеет товар Шплинт Ф9 DIN 11023 с кольцом? ❯
- Какова цена товара Шплинт Ф9 DIN 11023 с кольцом и актуальна ли она? ❯
- К какой категории относится товар Шплинт Ф9 DIN 11023 с кольцом? ❯
- Можно ли заказать доставку товара Шплинт Ф9 DIN 11023 с кольцом? ❯
- Какие преимущества покупки Шплинт Ф9 DIN 11023 с кольцом именно у этого производителя KrepZevs? ❯
- Где можно найти другие товары, похожие на Шплинт Ф9 DIN 11023 с кольцом? ❯
- ПроизводительKrepZevs
- НаличиеВ наличии
- Тип шплинтаС кольцом
- Материал шплинтаСталь
- Все характеристики
- Минимальная суммазаказа - 2000 грн
- Надежное сырье и оборудование: Компания использует проверенное сырье и современное оборудование для производства крепежных элементов.
- Опытная команда: Производством стандартных и специальных решений занимается команда профессионалов.
- Сотрудничество с производителями: Компания сотрудничает с ответственными заводами-производителями из Украины и Европы.
Шплинт Ф9.0 DIN 11023 с кольцом (чекой)
Шплинт с кольцом Ф9 DIN 11023 используется для создания быстроразборных соединений, имеющих увеличенную жесткость и сопротивление вибрационным воздействиям. В состав метиза входит стальное кольцо и стержень, напоминающий небольшую трубку. Такое строение делает крепеж похожим на чеку, что и стало вторым названием шплинта данного вида.
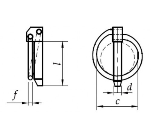
Конструкция шплинта DIN 11023

Основные технические характеристики:
|
Номинальный диаметр |
dnom |
9 |
|
Диаметр стержня шплинта |
d |
9 |
|
Внутренний диаметр чеки |
c |
41 |
|
Ширина стержня шплинта |
f |
3.4 |
|
Длина стержня шплинта |
l |
42 |
Где выгодно купить метизы в Украине?
Фирма «Зевс» - сертифицированный, надежный производитель и поставщик крепежей различного вида на украинский рынок. Мы работаем с оптовиками со всей страны, отправляем заказы быстро и организовано. Также наши менеджеры консультируют клиентов с полным описанием подробностей создания и возможностей купить шплинты DIN 11023 по низкой цене.
Шплінт Ф9 DIN 11023 з кільцем
Технические характеристики
- Тип шплинтаС кольцом
- Материал шплинтаСталь
- ПокрытиеЦинк, без покрытия
- Длина шплинта42
- Условный диаметр шплинта9
- Диаметр кольца41
- Гарантийный срок36
- СостояниеНовое
Нет отзывов об этом товаре.
