- Какие характеристики имеет товар Винт ГОСТ 1486-84 DIN 480 установочный М12? ❯
- Какова цена товара Винт ГОСТ 1486-84 DIN 480 установочный М12 и актуальна ли она? ❯
- К какой категории относится товар Винт ГОСТ 1486-84 DIN 480 установочный М12? ❯
- Можно ли заказать доставку товара Винт ГОСТ 1486-84 DIN 480 установочный М12? ❯
- Какие преимущества покупки Винт ГОСТ 1486-84 DIN 480 установочный М12 именно у этого производителя KrepZevs? ❯
- Где можно найти другие товары, похожие на Винт ГОСТ 1486-84 DIN 480 установочный М12? ❯
- ПроизводительKrepZevs
- НаличиеВ наличии
- Назначение винтаУстановочный
- Форма головки винтаКвадратная (четырёхгранная)
- Все характеристики
- Минимальная суммазаказа - 2000 грн
- Надежное сырье и оборудование: Компания использует проверенное сырье и современное оборудование для производства крепежных элементов.
- Опытная команда: Производством стандартных и специальных решений занимается команда профессионалов.
- Сотрудничество с производителями: Компания сотрудничает с ответственными заводами-производителями из Украины и Европы.
Винт установочный ГОСТ 1486 DIN 480
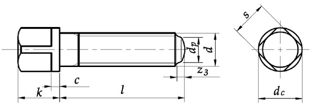
Установочные винты, произведенные в соответствии с DIN 480, конструкционно представляют собой:
- цилиндрический стержень с резьбой и закругленным концом,
- головка изделия квадратная, дополнена буртиком.
Аналогичный крепеж выполняется согласно регламенту ГОСТ 1486-84.
Винт применяется в разных сферах деятельности человека, таких как тяжелое машиностроение, станкостроение. Используется как крепеж пакета деталей в приборах, узлах и агрегатах.

Технические характеристики винта М12 (мм):
|
Номинальный диаметр винта |
М12 |
|
Шаг резьбы |
1.75 |
|
Размер под ключ |
13 |
|
Диаметр головки и буртика |
17 |
|
Высота головки |
16 |
|
Высота буртика |
3.85 |
|
Диаметр цапфы |
8.5 |
|
Длина цапфы |
3 |
Таблица теоретической массы 1 единицы винта М12 ГОСТ 1486 DIN 480
|
Длина винта |
Теоретическая масса, грамм |
|
20 |
27.82 |
|
25 |
31.53 |
|
30 |
35.15 |
|
35 |
38.76 |
|
40 |
42.46 |
|
45 |
46.09 |
|
50 |
49.69 |
|
55 |
53.39 |
|
60 |
57.01 |
Компания «Зевс» предлагает разнообразный крепеж со склада и под заказ купить по низким ценам. Осуществляем поставки качественного метиза в сжатые сроки. Необходимая документация на изделия имеется, крепежные элементы соответствует принятым нормам и стандартам. Для получения более подробной информации по товару звоните нашим менеджерам или оставляйте заявки онлайн.
Гвинт ГОСТ 1486-84 DIN 480 настановний М12
Технические характеристики
- Назначение винтаУстановочный
- Форма головки винтаКвадратная (четырёхгранная)
- Форма конца винтаСтупенчатый со сферой
- Материал винтаСталь
- Метрическая резьба, М12
- Шаг резьбы1.75
- Диаметр головки17
- Высота головки16
- Гарантийный срок36
- СостояниеНовое
Нет отзывов об этом товаре.
