- Які характеристики має товар Болт М5 DIN 933 клас міцності 10.9? ❯
- Яка ціна товару Болт М5 DIN 933 клас міцності 10.9 і чи вона актуальна? ❯
- До якої категорії належить товар Болт М5 DIN 933 клас міцності 10.9? ❯
- Чи можна замовити доставку для товару Болт М5 DIN 933 клас міцності 10.9? ❯
- Які переваги покупки Болт М5 DIN 933 клас міцності 10.9 саме у цього виробника KrepZevs? ❯
- Де можна знайти інші товари, схожі на Болт М5 DIN 933 клас міцності 10.9? ❯
- ВиробникKrepZevs
- НаявністьВ наявності
- Форма болтаЗ шестигранною головкою та повним різьбленням
- Матеріал болтаВисокоміцна сталь
- Усі характеристики
- Мінімальна сумма замовлення - 2000 грн
- Надійна сировина та обладнання: Компанія використовує перевірену сировину та сучасне обладнання для виробництва кріпильних елементів.
- Дослідна команда: Виробництвом стандартних та спеціальних рішень займається команда професіоналів.
- Співпраця з виробниками: Компанія співпрацює з відповідальними заводами-виробниками з України та Європи.
Болт М5 DIN 933 клас міцності 10.9
Найефективнішим способом сформувати високоміцну сполуку, що не піддається руйнуванню під дією статичних та динамічних навантажень, є використання металовиробів, створених у високих класах міцності. Болти М5 DIN 933 виготовляються у класі міцності 10.9 для використання у важких капітальних спорудах спільно з гайками класу 10.0 та шайбами високої міцності. Для встановлення кріплення в неагресивному вологому середовищі існує можливість його оцинкування.
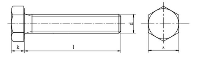
Конструкція болта DIN 933

Основні технічні характеристики (мм):
|
Характеристика |
Опис |
Значення |
|
Крок різьби |
Р |
0,8 |
|
Розмір «під ключ» |
S |
8 |
|
Висота голівки болта |
k |
3,5 |
|
Діаметр описаного кола |
e |
8,8 |
|
Довжина болта |
l |
Від 6 до 80 |
Таблиця мас і довжин болта М5 DIN 933
|
Довжина болта (мм) |
Теоретична маса одного болта (г) |
|
6 |
2.365 |
|
8 |
2.67 |
|
10 |
2.974 |
|
12 |
3.28 |
|
14 |
3.583 |
|
16 |
3.888 |
|
18 |
4.387 |
|
20 |
4.721 |
|
22 |
5.053 |
|
25 |
5.553 |
|
28 |
6.053 |
|
30 |
6.386 |
|
32 |
6.72 |
|
35 |
7.22 |
|
38 |
7.719 |
|
40 |
8.052 |
|
45 |
8.885 |
|
50 |
9.362 |
|
55 |
9.47 |
|
60 |
11.38 |
|
65 |
12.21 |
|
70 |
13.05 |
|
75 |
13.88 |
|
80 |
14.72 |
Болт М5 DIN 933 класс прочности 10.9
Технічні характеристики
- Форма болтаЗ шестигранною головкою та повним різьбленням
- Матеріал болтаВисокоміцна сталь
- Клас міцності10.9
- Метричне різьблення, М5
- Розмір під ключ8
- Крок різьблення0.8
- Висота головки3.5
- Гарантійний термін36
- СтанНове
- СтандартDIN 933
Відгуків про цей товар ще не було.
