- Які характеристики має товар Болт М60 DIN 933 клас міцності 10.9? ❯
- Яка ціна товару Болт М60 DIN 933 клас міцності 10.9 і чи вона актуальна? ❯
- До якої категорії належить товар Болт М60 DIN 933 клас міцності 10.9? ❯
- Чи можна замовити доставку для товару Болт М60 DIN 933 клас міцності 10.9? ❯
- Які переваги покупки Болт М60 DIN 933 клас міцності 10.9 саме у цього виробника KrepZevs? ❯
- Де можна знайти інші товари, схожі на Болт М60 DIN 933 клас міцності 10.9? ❯
- ВиробникKrepZevs
- НаявністьВ наявності
- Призначення болтаМашинобудівний
- Форма болтаЗ шестигранною головкою та повним різьбленням
- Усі характеристики
- Мінімальна сумма замовлення - 2000 грн
- Надійна сировина та обладнання: Компанія використовує перевірену сировину та сучасне обладнання для виробництва кріпильних елементів.
- Дослідна команда: Виробництвом стандартних та спеціальних рішень займається команда професіоналів.
- Співпраця з виробниками: Компанія співпрацює з відповідальними заводами-виробниками з України та Європи.
Болт М60 DIN 933 класу міцності 10.9 здатний витримати практично будь-які експлуатаційні навантаження, тому найчастіше використовується для кріплення елементів відповідальних конструкцій. Легована вуглецева сталь, з якої виготовляються металовироби, що містять нікель, хром та інші елементи, значно поліпшують її характеристики.
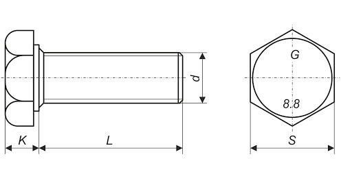
Креслення болта DIN 933

Болти М60 DIN 933 класу міцності 10.9 можуть використовуватися навіть в умовах агресивного середовища, зберігаючи високі механічні властивості. Металовироби практично нечутливі до перепаду температур. Для захисту від корозії кріпильні елементи покривають шаром цинку.
Шестигранні болти М60 DIN 933 прості в установці і заміні, монтажне зварювання в області стиків не потрібно. Завдяки використанню шайб відповідного діаметру запобігається можлива деформація поверхонь з'єднуваних елементів.
Технічні характеристики болта М60 DIN 933
|
Характеристика |
Позначення |
Значення, мм |
|
Діаметр різьби |
d |
60 |
|
Довжина болта |
l |
170-360 |
|
Розмір «під ключ» |
s |
90 |
|
Крок різьби |
p |
5,5 |
|
Висота голівки |
k |
38 |
|
Діаметр описаного кола |
e |
99,21 |
Компанія «Зевс» випускає широкий асортимент металовирібної продукції, який включає і болти М60 DIN 933 класу міцності 10.9. купити кріпильні елементи у нас можна за ціною, що на 7% нижче ринкової, а трирічна гарантія на продукцію є додатковим підтвердженням її високої якості.
Болт М60 DIN 933 класс прочности 10.9
Технічні характеристики
- Призначення болтаМашинобудівний
- Форма болтаЗ шестигранною головкою та повним різьбленням
- Матеріал болтаВисокоміцна сталь
- ПокриттяЦинк
- Наявність гайкиТак
- Клас міцності10.9
- Метричне різьблення, М60
- Розмір під ключ90
- Крок різьблення5.5
- Діаметр головки99.21
- Довжина болта170-360 мм
- Висота головки38
- Супровідний документСертифікат
- Гарантійний термін36
- СтанНове
- Матеріал виготовленнясталь конструкційна легована
- Марка стали40Х
- Клас точностіА
- СтандартиDIN 933
Відгуків про цей товар ще не було.
