- Які характеристики має товар Болт DIN 610 призонний М8 клас міцності 10.9? ❯
- Яка ціна товару Болт DIN 610 призонний М8 клас міцності 10.9 і чи вона актуальна? ❯
- До якої категорії належить товар Болт DIN 610 призонний М8 клас міцності 10.9? ❯
- Чи можна замовити доставку для товару Болт DIN 610 призонний М8 клас міцності 10.9? ❯
- Які переваги покупки Болт DIN 610 призонний М8 клас міцності 10.9 саме у цього виробника KrepZevs? ❯
- Де можна знайти інші товари, схожі на Болт DIN 610 призонний М8 клас міцності 10.9? ❯
- ВиробникKrepZevs
- НаявністьВ наявності
- Призначення болтаМашинобудівний
- Форма болтаЗ шестигранною головкою та неповним різьбленням
- Усі характеристики
- Мінімальна сумма замовлення - 2000 грн
- Надійна сировина та обладнання: Компанія використовує перевірену сировину та сучасне обладнання для виробництва кріпильних елементів.
- Дослідна команда: Виробництвом стандартних та спеціальних рішень займається команда професіоналів.
- Співпраця з виробниками: Компанія співпрацює з відповідальними заводами-виробниками з України та Європи.
Болт призонний М8 DIN 610 клас міцності 10.9
Призонний болт М8 DIN 610 класу міцності 10.9 - високоточне (прецизійне) кріплення, що застосовується в машинобудуванні, станкобудуванні, будівництві та інших галузях промисловості. Необхідний він для кріплення частин конструкцій, що піддаються підвищеним навантаженням (ударним, циклічним, статичним тощо).
Відповідно до стандарту DIN 610 металовироби виконуються з укороченою різьбовою цапфою та голівкою у формі шестигранника. Застосовують їх спільно з гайкою та шайбою відповідного діаметра, виготовленими з аналогічного матеріалу. Для виробництва виробів використовують якісну вуглецеву сталь класу міцності 10.9. Якщо елементи використовуватимуться в конструкціях або механізмах, що експлуатуються на відкритому повітрі, рекомендується нанесення цинкового покриття.
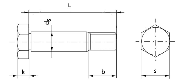
Схема габаритних розмірів болта М8 DIN 610 (мм):

| Номінальний діаметр різьблення, d | М8 | |
| Крок різьби, p | 1 | |
| Висота голівки болта, k | 5,3 | |
| Діаметр стрижня, ds | 9 | |
| Розмір під ключ s | 13 | |
| Діаметр описаного кола, e | 14,38 | |
| Довжина різьблення, b | l ≤ 50 | 11,5 |
| 50 < l ≤ 150 | 13,5 | |
| l > 150 | 18,5 | |
Придбати призонні болти DIN 610 класу міцності 10.9 пропонує компанія «Зевс». Ми виготовимо кріпильні елементи точно вчасно та надамо гарантію на 36 місяців. За допомогою у виборі металовиробів або оформленні замовлення ви завжди можете звернутися до наших менеджерів. Для постійних клієнтів та оптових покупців діє гнучка система знижок. Вся продукція постачається після попередньої перевірки у ВТК. Доставка здійснюється по всій Україні одразу після внесення оплати. У нас ви знайдете великий асортимент деталей із різними типорозмірами. Швидке оформлення замовлення телефоном або на сайті онлайн.
Болт DIN 610 призонный М8 класс прочности 10.9
Технічні характеристики
- Призначення болтаМашинобудівний
- Форма болтаЗ шестигранною головкою та неповним різьбленням
- Матеріал болтаВисокоміцна сталь
- Клас міцності10.9
- Метричне різьблення, М8
- Розмір під ключ13
- Крок різьблення1
- Діаметр головки14.38
- Висота головки5.3
- Гарантійний термін36
- СтанНове
- СтандартDIN 610
Відгуків про цей товар ще не було.
