- Які характеристики має товар Гайка М20 самоконтряща DIN 985, ISO 10511? ❯
- Яка ціна товару Гайка М20 самоконтряща DIN 985, ISO 10511 і чи вона актуальна? ❯
- До якої категорії належить товар Гайка М20 самоконтряща DIN 985, ISO 10511? ❯
- Чи можна замовити доставку для товару Гайка М20 самоконтряща DIN 985, ISO 10511? ❯
- Які переваги покупки Гайка М20 самоконтряща DIN 985, ISO 10511 саме у цього виробника KrepZevs? ❯
- Де можна знайти інші товари, схожі на Гайка М20 самоконтряща DIN 985, ISO 10511? ❯
- ВиробникKrepZevs
- НаявністьВ наявності
- Висота20
- Матеріал гайкиСталь
- Усі характеристики
- Мінімальна сумма замовлення - 2000 грн
- Надійна сировина та обладнання: Компанія використовує перевірену сировину та сучасне обладнання для виробництва кріпильних елементів.
- Дослідна команда: Виробництвом стандартних та спеціальних рішень займається команда професіоналів.
- Співпраця з виробниками: Компанія співпрацює з відповідальними заводами-виробниками з України та Європи.
Гайка М20 самоконтряща DIN 985, ISO 10511
Самоконтряща гайка М20 виконана за стандартом DIN 985, застосовується для запобігання відгвинчування з'єднання і має наступні відмінні особливості:
- шестигранна форма;
- зменшена висота;
- з одного торця деталь не відрізняється від звичайної шестигранної, а з іншого - знаходиться спеціальний виступ, що утримує кільце з поліаміду.
Гайка з нейлоновим кільцем називається самозатискною і призначена для запобігання самовідгвинчування з'єднання у вібронавантажених вузлах. Матеріал виготовлення металовироба конструкційна вуглецева сталь різних класів міцності. Для збільшення експлуатаційних характеристик готовий виріб може бути оцинкований.

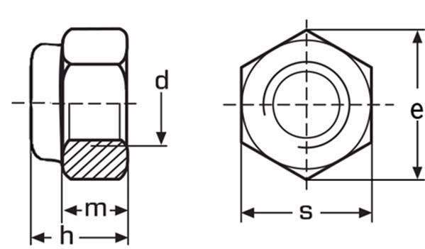
Розміри самоконтрящих гайок М20, за DIN 985
|
Характеристика |
Позначення |
Значення (в мм) |
|
|
Висота шестигранної частини |
m |
14 |
|
|
Розмір під ключ |
s |
30 |
|
|
Крок різьби |
Р |
великий |
2.5 |
|
дрібний |
1.5, 2 |
||
|
Висота гайки |
h |
max=nom |
20 |
|
min |
18.7 |
||
Наша компанія довгий час займається виготовленням та реалізацією кріплення та пропонує вигідні умови купівлі:
- доставка металовиробів після їх оплати здійснюється в найкоротший термін;
- висока якість кріпильних виробів;
- консультація професійних менеджерів;
- низька ціна продукції;
- великий асортимент виробів ГОСТ, DIN;
- нестандартні елементи виготовляємо за кресленням замовника.
Телефонуйте - завжди раді допомогти!
Гайка М20 самоконтрящаяся DIN 985, ISO 10511
Технічні характеристики
- Висота20
- Матеріал гайкиСталь
- Вага0.05
- Вид гайкиШестигранна самоконтрольна
- Метричне різьблення, М20
- Розмір під ключ30
- Крок різьблення2.5
- Гарантійний термін36
- СтанНове
Відгуків про цей товар ще не було.
