- Які характеристики має товар Гайка М45 ГОСТ 5919-73 класу міцності 10.0? ❯
- Яка ціна товару Гайка М45 ГОСТ 5919-73 класу міцності 10.0 і чи вона актуальна? ❯
- До якої категорії належить товар Гайка М45 ГОСТ 5919-73 класу міцності 10.0? ❯
- Чи можна замовити доставку для товару Гайка М45 ГОСТ 5919-73 класу міцності 10.0? ❯
- Які переваги покупки Гайка М45 ГОСТ 5919-73 класу міцності 10.0 саме у цього виробника KrepZevs? ❯
- Де можна знайти інші товари, схожі на Гайка М45 ГОСТ 5919-73 класу міцності 10.0? ❯
- ВиробникKrepZevs
- НаявністьВ наявності
- Висота24
- ПокриттяЦинк
- Усі характеристики
- Мінімальна сумма замовлення - 2000 грн
- Надійна сировина та обладнання: Компанія використовує перевірену сировину та сучасне обладнання для виробництва кріпильних елементів.
- Дослідна команда: Виробництвом стандартних та спеціальних рішень займається команда професіоналів.
- Співпраця з виробниками: Компанія співпрацює з відповідальними заводами-виробниками з України та Європи.
Гайка низька корончата М45 ГОСТ 5919-73 класу міцності 10.0
Корончата низька гайка М45 ГОСТ 5919-73 класу міцності 10.0 виконується з високоміцної легованої сталі і з метою підвищення стійкості до корозії може покриватися шаром цинку. Різьба гайки відноситься до класу точності В і нарізається як дюймовою, так і метричною.
Застосовують гайку М45 в різьбових з'єднаннях для підвищення надійності кріплення шляхом запобігання мимовільного відгвинчування. Разом з гайкою завжди використовують розвідний шплінт, який і служить стопірним елементом.
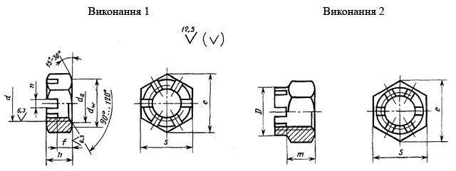
Схема габаритних розмірів низької корончатої гайки М45 ГОСТ 5919-73

|
Номінальний діаметр різьби d |
М45 |
|
|
Крок різьби, мм |
великий |
4,7 |
|
дрібний |
3,0 |
|
|
Розмір «під ключ», S |
70 |
|
|
Висота, h |
24 |
|
|
Відстань від опорної поверхні до основи прорізу f і коронки т |
15 |
|
|
dw, не менше |
64,5 |
|
|
Діаметр описаного кола e, не менше |
77,3 |
|
|
Діаметр фаски, da |
не менш |
45 |
|
не більше |
47,3 |
|
|
Діаметр коронки, D |
62 |
|
|
Кількість прорізів |
8 |
|
|
Ширина прорізу, n |
9,0 |
|
|
Розмір шплінта (рекомендований) за ГОСТ 397 |
Виконання 1 |
8х85 |
|
Виконання 2 |
8х75 |
|
Компанія «Зевс» надає можливість швидко і без зайвих проблем замовити корончаті низькі гайки ГОСТ 5919-73 класу міцності 10.0 на даному сайті. Весь товар виробляється тільки з якісних матеріалів, що робить його надійним та довговічним.
Якщо Ви не можете самостійно визначиться яке кріплення потрібне, наші фахівці завжди допоможуть з вибором. Для цього потрібно лише зателефонувати за номером вказаним на сайті.
Купуючи продукцію компанії виробника «Зевс» Ви завжди можете розраховувати на:
- індивідуальний підхід до кожного клієнта;
- високу якість;
- доступну ціну;
- оперативну доставку.
Гайка М45 ГОСТ 5919-73 класса прочности 10.0
Технічні характеристики
- Висота24
- ПокриттяЦинк
- Матеріал гайкиСталь
- Вид гайкиКорончаста низька
- Клас міцності10
- Метричне різьблення, М45
- Розмір під ключ70
- Гарантійний термін36
- СтанНове
Відгуків про цей товар ще не було.
