- Які характеристики має товар Гайка М48 ГОСТ 5919-73 класу міцності 8.0? ❯
- Яка ціна товару Гайка М48 ГОСТ 5919-73 класу міцності 8.0 і чи вона актуальна? ❯
- До якої категорії належить товар Гайка М48 ГОСТ 5919-73 класу міцності 8.0? ❯
- Чи можна замовити доставку для товару Гайка М48 ГОСТ 5919-73 класу міцності 8.0? ❯
- Які переваги покупки Гайка М48 ГОСТ 5919-73 класу міцності 8.0 саме у цього виробника KrepZevs? ❯
- Де можна знайти інші товари, схожі на Гайка М48 ГОСТ 5919-73 класу міцності 8.0? ❯
- ВиробникKrepZevs
- НаявністьВ наявності
- Висота25
- ПокриттяЦинк
- Усі характеристики
- Мінімальна сумма замовлення - 2000 грн
- Надійна сировина та обладнання: Компанія використовує перевірену сировину та сучасне обладнання для виробництва кріпильних елементів.
- Дослідна команда: Виробництвом стандартних та спеціальних рішень займається команда професіоналів.
- Співпраця з виробниками: Компанія співпрацює з відповідальними заводами-виробниками з України та Європи.
Гайка низька корончата М48 ГОСТ 5919-73 класу міцності 8.0
Корончата низька гайка М48 ГОСТ 5919-73 класу міцності 8.0 відрізняється зменшеною висотою і виробляється шестигранної форми з прорізами під шплінт, служить стопірним елементом. Застосовують дану гайку з метою підвищення надійності з'єднання шляхом запобігання мимовільного відкручування.
Виготовляється гайка М48 ГОСТ 5919-73 з високоміцної вуглецевої сталі з метричним або дюймовим різьбленням.
Зменшена висота робить гайку більш компактною і легкою, що також позитивно позначається і на загальних габаритах і вазі конструкції.
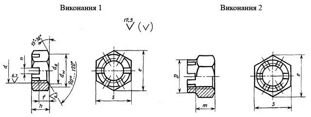
Схема габаритних розмірів низької корончатої гайки М48 ГОСТ 5919-73

|
Номінальний діаметр різьби d |
М48 |
|
|
Крок різьби, мм |
великий |
5,0 |
|
дрібний |
3,0 |
|
|
Розмір «під ключ», S |
75 |
|
|
Висота, h |
25 |
|
|
Відстань від опорної поверхні до основи прорізу f і коронки т |
16 |
|
|
dw, не менше |
69,4 |
|
|
Діаметр описаного кола e, не менше |
82,6 |
|
|
Діаметр фаски, da |
не менш |
48 |
|
не більше |
51,8 |
|
|
Діаметр коронки, D |
65 |
|
|
Кількість прорізів |
8 |
|
|
Ширина прорізу, n |
9,0 |
|
|
Розмір шплінта (рекомендований) за ГОСТ 397 |
Виконання 1 |
8×90 |
|
Виконання 2 |
8×80 |
|
Компанія «Зевс» дає можливість швидко і без зайвих проблем замовити корончаті низькі гайки ГОСТ 5919-73 класса прочности 8.0 на даному сайті. Весь товар виробляється тільки з якісних матеріалів, що робить його надійним і довговічним.
Якщо Ви не можете самостійно визначиться яке кріплення потрібне, наші професіонали завжди допоможуть з вибором. Для цього потрібно всього лише зателефонувати за вказаним на сайті номером.
Купуючи продукцію компанії виробника «Зевс» Ви завжди можете розраховувати на:
- індивідуальний підхід до кожного клієнта;
- високу якість;
- доступну ціну;
- оперативну доставку.
Гайка М48 ГОСТ 5919-73 класса прочности 8.0
Технічні характеристики
- Висота25
- ПокриттяЦинк
- Матеріал гайкиСталь
- Вид гайкиКорончаста низька
- Клас міцності8
- Метричне різьблення, М48
- Розмір під ключ75
- Гарантійний термін36
- СтанНове
Відгуків про цей товар ще не було.
