- Які характеристики має товар Самозатискні гайки М5 DIN 982? ❯
- Яка ціна товару Самозатискні гайки М5 DIN 982 і чи вона актуальна? ❯
- До якої категорії належить товар Самозатискні гайки М5 DIN 982? ❯
- Чи можна замовити доставку для товару Самозатискні гайки М5 DIN 982? ❯
- Які переваги покупки Самозатискні гайки М5 DIN 982 саме у цього виробника KrepZevs? ❯
- Де можна знайти інші товари, схожі на Самозатискні гайки М5 DIN 982? ❯
- ВиробникKrepZevs
- НаявністьВ наявності
- Висота6.3
- Матеріал гайкиСталь
- Усі характеристики
- Мінімальна сумма замовлення - 2000 грн
- Надійна сировина та обладнання: Компанія використовує перевірену сировину та сучасне обладнання для виробництва кріпильних елементів.
- Дослідна команда: Виробництвом стандартних та спеціальних рішень займається команда професіоналів.
- Співпраця з виробниками: Компанія співпрацює з відповідальними заводами-виробниками з України та Європи.
Гайки самозатискні М5 DIN 982
Гайки М5 DIN 982 виробляють шестигранної форми з внутрішнім метричним різьбленням і спеціальним нейлоновим прошарком. Крок різьблення може бути великий та дрібний. Такі вироби відносяться до метизів, що стопорять, тому використання даного кріплення виключає необхідність застосування додаткових елементів.
Випускають деталі з різними класами міцності з якісної вуглецевої або легованої сталі. Вони можуть бути покриті додатковим захисним шаром цинку, який підвищує їх стійкість до корозії.
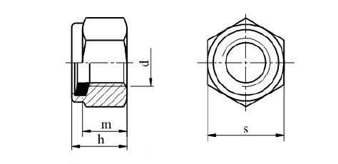
Креслення самозатискної гайки DIN 982

Основні габаритні характеристики самозатискної гайки М5 DIN 982 (мм):
|
Номінальний діаметр різьблення, d |
Діаметр, e |
Висота гайки,h |
Висота різьбової частини, хв,m |
Розмір гайки під ключ,s |
|
M5 |
8,79 |
6,3 |
3,52 |
8 |
Компанія «Зевс» пропонує купити самозатискні гайки DIN 982, ціна яких дуже прийнятна. Так як ми самі виробляємо металовироби, ми можемо гарантувати якість виробів, тому надаємо гарантію на 36 місяців. Компанія здійснює оптові та роздрібні поставки кріплення по всій Україні.
При виникненні труднощів у виборі виробів або оформленні замовлення ви завжди можете звернутися за допомогою до наших менеджерів, які нададуть вам професійну консультацію з будь-яких технічних питань та допоможуть з вибором способу доставки та оплати.
Самозажимные гайки М5 DIN 982
Технічні характеристики
- Висота6.3
- Матеріал гайкиСталь
- Вид гайкиШестигранна самоконтрольна
- Метричне різьблення, М5
- Розмір під ключ8
- Гарантійний термін36
- СтанНове
- СтандартDIN 982
Відгуків про цей товар ще не було.
