- Які характеристики має товар Болт М56 DIN 933 клас міцності 10.9? ❯
- Яка ціна товару Болт М56 DIN 933 клас міцності 10.9 і чи вона актуальна? ❯
- До якої категорії належить товар Болт М56 DIN 933 клас міцності 10.9? ❯
- Чи можна замовити доставку для товару Болт М56 DIN 933 клас міцності 10.9? ❯
- Які переваги покупки Болт М56 DIN 933 клас міцності 10.9 саме у цього виробника KrepZevs? ❯
- Де можна знайти інші товари, схожі на Болт М56 DIN 933 клас міцності 10.9? ❯
- ВиробникKrepZevs
- НаявністьВ наявності
- Призначення болтаМашинобудівний
- Форма болтаЗ шестигранною головкою та повним різьбленням
- Усі характеристики
- Мінімальна сумма замовлення - 2000 грн
- Надійна сировина та обладнання: Компанія використовує перевірену сировину та сучасне обладнання для виробництва кріпильних елементів.
- Дослідна команда: Виробництвом стандартних та спеціальних рішень займається команда професіоналів.
- Співпраця з виробниками: Компанія співпрацює з відповідальними заводами-виробниками з України та Європи.
Якщо вам потрібне кріплення, здатне витримувати високі статичні та динамічні навантаження, рекомендуємо придбати болт М56 DIN 933 класу міцності 10.9. Металовиріб з шестигранною голівкою і повним різьбленням підходить для кріплення деталей з дерева, металу та інших матеріалів, тому широко використовується в машинобудуванні та інших галузях промисловості, а також в будівництві.
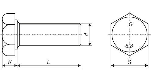
Креслення болта DIN 933

Використовуючи високоміцні болти М56 DIN 933, ви зможете обійтися без монтажного зварювання, заощадивши тим самим час і гроші. Металовироби забезпечать міцність стиків конструкції, а замінити деталі в разі ремонту буде набагато простіше, ніж при зварному з'єднанні.
Конструкційна вуглецева сталь, яка використовується в якості матеріалу виготовлення болтів М56 DIN 933 відрізняється підвищеною міцністю. Щоб підвищити її корозійну стійкість металовироби покриваються цинком - використовується метод гальванізації або гарячого цинкування.
Технічні характеристики болта М56 DIN 933
|
Характеристика |
Позначення |
Значення, мм |
|
Діаметр різьби |
d |
56 |
|
Довжина болта |
l |
160-360 |
|
Розмір «під ключ» |
s |
85 |
|
Крок різьби |
p |
5,5 |
|
Висота голівки |
k |
35 |
|
Діаметр описаного кола |
e |
93,56 |
На сайті компанії «Зевс» ви можете купити болти М56 DIN 933 класу міцності 10.9 з цинковим покриттям або без нього. Завдяки професійним консультаціям менеджерів вибрати елементи кріплення з необхідними параметрами не складе труднощів. Доставку можна замовити в будь-який регіон України.
Болт М56 DIN 933 класс прочности 10.9
Технічні характеристики
- Призначення болтаМашинобудівний
- Форма болтаЗ шестигранною головкою та повним різьбленням
- Матеріал болтаВисокоміцна сталь
- ПокриттяЦинк
- Наявність гайкиТак
- Клас міцності10.9
- Метричне різьблення, М56
- Розмір під ключ85
- Крок різьблення5.5
- Діаметр головки93.56
- Довжина болта160-360 мм
- Висота головки35
- Супровідний документСертифікат
- Гарантійний термін36
- СтанНове
- Матеріал виготовленнясталь конструкційна легована
- Марка стали40Х
- Клас точностіА
- СтандартиDIN 933
Відгуків про цей товар ще не було.
