- Які характеристики має товар Мотор-редуктор 3МП-112-5,5? ❯
- Яка ціна товару Мотор-редуктор 3МП-112-5,5 і чи вона актуальна? ❯
- До якої категорії належить товар Мотор-редуктор 3МП-112-5,5? ❯
- Чи можна замовити доставку для товару Мотор-редуктор 3МП-112-5,5? ❯
- Які переваги покупки Мотор-редуктор 3МП-112-5,5 саме у цього виробника KrepZevs? ❯
- Де можна знайти інші товари, схожі на Мотор-редуктор 3МП-112-5,5? ❯
- ВиробникKrepZevs
- НаявністьВ наявності
- ТипМотор-редуктор
- Тип редуктораПланетарний
- Усі характеристики
- Мінімальна сумма замовлення - 2000 грн
- Надійна сировина та обладнання: Компанія використовує перевірену сировину та сучасне обладнання для виробництва кріпильних елементів.
- Дослідна команда: Виробництвом стандартних та спеціальних рішень займається команда професіоналів.
- Співпраця з виробниками: Компанія співпрацює з відповідальними заводами-виробниками з України та Європи.
Планетарний мотор-редуктор 3МП-112-5,5
Для забезпечення високого моменту, що крутить, при невеликій швидкості обертання валу на багато промислових машин і обладнання встановлюється потужний привід - мотор-редуктор 3МП-112-5,5. Він оснащений планетарною зубчастою передачею, має високий коефіцієнт корисної дії, компактні габарити та невелику вагу. Марка асинхронного двигуна, яким обладнано пристрій – АІР132S6, потужність 5,5 кВт.
Мотор-редуктори типу 3МП дозволяють отримати високе передатне відношення і мають широкі кінематичні можливості. Пристрої використовують для оснащення багатьох видів машин та обладнання у сільському господарстві та промисловості, винятком є лише механізми для підйому вантажів. Вітчизняні перетворювачі склали гідну конкуренцію імпортним завдяки доступній ціні, надійності та недорогому ремонту.
Умови використання мотор-редукторів 3МП-40
|
Характеристика |
Значення |
|
Тип навантаження |
Змінне, постійне |
|
Режим роботи |
Тривалий, з періодичними зупинками |
|
Напрямок обертання тихохідного валу |
Односпрямований або реверсивний |
|
Температурний діапазон |
Від -45 до +45 градусів |
|
Кліматичне виконання |
У, Т, категорія розміщення 2, 3 |
|
Зовнішнє середовище |
Невибухонебезпечне, неагресивне, зміст непровідного пилу не перевищує 10 мг/м3 |
Основні технічні характеристики мотор-редуктор 3МП 40-112-3:
|
Характеристика |
Значення |
|
Номінальна частота обертання вихідного валу, об/хв |
112 |
|
Кількість ступенів |
1 |
|
Комплектуючий електродвигун, марка |
АІР132Ѕ6 |
|
Потужність електродвигуна, кВт |
5,5 |
|
Допустиме радіально-консольне навантаження на вихідному валу, Н |
2400 |
|
ККД редукторної частини, % |
98 |
|
Маса редукторної частини, кг |
117 |
Купити одноступінчастий планетарний редуктор 3МП-112-5,5 можна на сайті компанії «Зевс». Для замовлення доступні модифікації для встановлення на лапи або фланцевого з'єднання. На все обладнання ми надаємо гарантію, що діє протягом року. Щоб отримати докладнішу інформацію про технічні характеристики пристрою або умови покупки, зв'яжіться з нашими менеджерами.
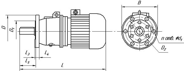
Габаритні і приєднувальні розміри мотор-редукторів 3МП (виконання - на лапах)

|
Позначення мотор-редуктора |
Частота обертання вихідного валу, об/хв |
L |
B |
H |
L 1 |
L 2 |
B 1 |
B 2 |
H 1 |
H 2 |
H 3 |
d1 |
|
Не більше |
||||||||||||
|
3МП-40 |
112...280 |
725 |
350 |
305 |
110 |
170 |
180 |
220 |
112 |
22 |
63 |
20 |
Габаритні і приєднувальні розміри мотор-редукторів 3МП (виконання - фланець)

|
Позначення мотор-редуктора |
Частота обертання вихідного валу, об/хв |
L |
B |
L 3 |
L 4 |
L 5 |
D |
D 1 |
D 2 |
d 2 |
n |
|
Не більше |
|||||||||||
|
3МП-40 |
112...280 |
725 |
350 |
6 |
16 |
90 |
200 |
130 |
165 |
15 |
6 |
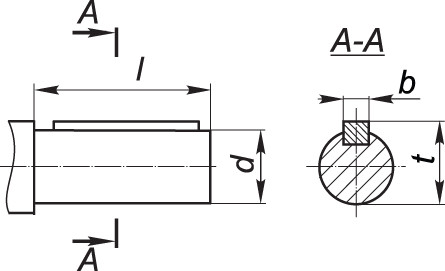
Приєднувальні розміри циліндричних валів мотор-редуктора 3МП

|
Мотор-редуктор |
d |
l |
b |
t |
|
3МП-40 |
35k6 |
80 |
10 |
38 |
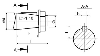
Приєднувальні розміри валів конічних мотор-редуктора 3МП

|
Мотор-редуктор |
d |
D1 |
1 |
11 |
b |
t |
|
3МП-40 |
35 |
М20х1,5 |
80 |
58 |
6 |
18,55 |
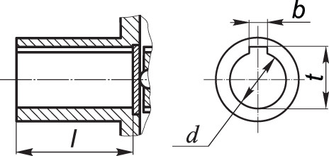
Приєднувальні розміри порожнистих валів мотор-редуктора 3МП

|
Мотор-редуктор |
d |
1 |
b |
t |
|
3МП-40 |
30Н7 |
70 |
8 |
33,1 |
Варіанти складання мотор-редуктора 3МП-40


Мотор-редуктор 3МП-112-5,5
Технічні характеристики
- ТипМотор-редуктор
- Тип редуктораПланетарний
- Кількість робочих ступенів1
- Вага117
- Розташування валів редуктораГоризонтальне
- Спосіб кріпленняна лапки, фланцевий
- Частота обертання вихідного валу112
- Тип робочого навантаженняпостійна, змінна
- Матеріал корпусуСталь|Чугун|Алюміній
- СтанНове
Відгуків про цей товар ще не було.
