- Які характеристики має товар Мотор-редуктор 3МП-40-12,5-0,55? ❯
- Яка ціна товару Мотор-редуктор 3МП-40-12,5-0,55 і чи вона актуальна? ❯
- До якої категорії належить товар Мотор-редуктор 3МП-40-12,5-0,55? ❯
- Чи можна замовити доставку для товару Мотор-редуктор 3МП-40-12,5-0,55? ❯
- Які переваги покупки Мотор-редуктор 3МП-40-12,5-0,55 саме у цього виробника KrepZevs? ❯
- Де можна знайти інші товари, схожі на Мотор-редуктор 3МП-40-12,5-0,55? ❯
- ВиробникKrepZevs
- НаявністьВ наявності
- ТипМотор-редуктор
- Тип редуктораПланетарний
- Усі характеристики
- Мінімальна сумма замовлення - 2000 грн
- Надійна сировина та обладнання: Компанія використовує перевірену сировину та сучасне обладнання для виробництва кріпильних елементів.
- Дослідна команда: Виробництвом стандартних та спеціальних рішень займається команда професіоналів.
- Співпраця з виробниками: Компанія співпрацює з відповідальними заводами-виробниками з України та Європи.
Планетарний мотор-редуктор 3МП-40-12,5 з двигуном потужністю 0,55 кВт
Як перетворювач крутного моменту в сільськогосподарській техніці та промисловому устаткуванні найчастіше використовуються мотор-редуктори планетарного типу, до яких відноситься і 3МП-40-12,5. Пристрій оснащений двигуном АІР71А4 потужністю 0,55 кВт, частота обертання вихідного валу становить 12,5 об/хв. Мотор-редуктор знижує кутову швидкість веденого валу і підвищує момент, що крутить.
Мотор-редуктори 3МП мають ряд переваг:
- високий ККД;
- доступний та простий ремонт;
- легкий монтаж;
- компактні розміри;
- надійність та тривалий термін служби.
Мотор-редуктори 3МП-40-12,5 можуть використовуватись для оснащення будь-якого обладнання загальномашинобудівного призначення, за винятком механізмів підіймання вантажів. Пристрій може працювати до 24 години на добу, постійно або з перервами. Передбачена можливість прямого чи реверсивного обертання валу.
Умови використання мотор-редукторів 3МП-40
|
Характеристика |
Значення |
|
Тип навантаження |
Змінне, постійне |
|
Режим роботи |
Тривалий, з періодичними зупинками |
|
Напрямок обертання тихохідного валу |
Односпрямований або реверсивний |
|
Температурний діапазон |
Від -45 до +45 градусів |
|
Кліматичне виконання |
У, Т, категорія розміщення 2, 3 |
|
Зовнішнє середовище |
Невибухонебезпечне, неагресивне, зміст непровідного пилу не перевищує 10 мг/м3 |
Основні технічні характеристики мотор-редуктора 3МП 40-12,5-0,55:
|
Характеристика |
Значення |
|
Номінальна частота обертання вихідного валу, об/хв |
12,5 |
|
Кількість ступенів |
3 |
|
Комплектуючий електродвигун, марка |
АІР71А4 |
|
Потужність електродвигуна, кВт |
0,55 |
|
Допустиме радіально-консольне навантаження на вихідному валу, Н |
4540 |
|
ККД редукторної частини, % |
96 |
|
Маса редукторної частини, кг |
41 |
Купити мотор-редуктор 3МП-40-12,5 із двигуном потужністю 0,55 кВт ви можете на сайті компанії «Зевс». Наші менеджери ознайомлять вас із технічними характеристиками обладнання, особливостями його монтажу та роботи. Ми відповідаємо за якість своєї продукції та надаємо на неї гарантію.
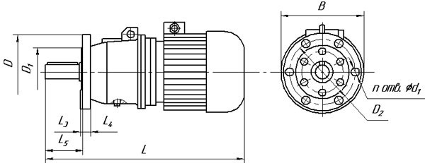
Габаритні і приєднувальні розміри мотор-редукторів 3МП (виконання - на лапах)

|
Позначення мотор-редуктора |
Частота обертання вихідного валу, об/хв |
L |
B |
H |
L 1 |
L 2 |
B 1 |
B 2 |
H 1 |
H 2 |
H 3 |
d1 |
|
Не більше |
||||||||||||
|
3МП-40 |
3,55 16... |
500 |
224 |
247 |
110 |
170 |
180 |
220 |
112 |
22 |
- |
20 |
Габаритні і приєднувальні розміри мотор-редукторів 3МП (виконання - фланець)

|
Позначення мотор-редуктора |
Частота обертання вихідного валу, об/хв |
L |
B |
L 3 |
L 4 |
L 5 |
D |
D 1 |
D 2 |
d 2 |
n |
|
Не більше |
|||||||||||
|
3МП-40 |
3,55 16... |
500 |
224 |
6 |
16 |
90 |
200 |
130 |
165 |
15 |
6 |
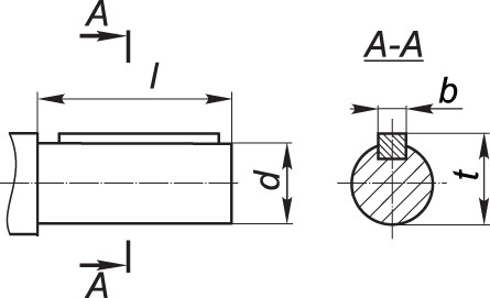
Приєднувальні розміри циліндричних валів мотор-редуктора 3МП

|
Мотор-редуктор |
d |
l |
b |
t |
|
3МП-40 |
35k6 |
80 |
10 |
38 |
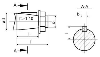
Приєднувальні розміри валів конічних мотор-редуктора 3МП

|
Мотор-редуктор |
d |
D1 |
1 |
11 |
b |
t |
|
3МП-40 |
35 |
М20х1,5 |
80 |
58 |
6 |
18,55 |
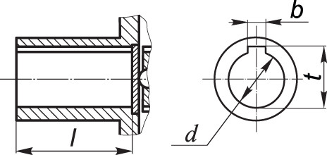
Приєднувальні розміри порожнистих валів мотор-редуктора 3МП

|
Мотор-редуктор |
d |
1 |
b |
t |
|
3МП-40 |
30Н7 |
70 |
8 |
33,1 |
Варіанти складання мотор-редуктора 3МП


Мотор-редуктор 3МП-40-12,5-0,55
Технічні характеристики
- ТипМотор-редуктор
- Тип редуктораПланетарний
- Кількість робочих ступенів3
- Вага41
- Розташування валів редуктораГоризонтальне
- Спосіб кріпленняна лапки, фланцевий
- Частота обертання вихідного валу12.5
- Тип робочого навантаженняпостійна, змінна
- ККД96
- Матеріал корпусуСталь|Чугун|Алюміній
- СтанНове
Відгуків про цей товар ще не було.
