- Які характеристики має товар Пружинна шайба М12 DIN 74361 форма С? ❯
- Яка ціна товару Пружинна шайба М12 DIN 74361 форма С і чи вона актуальна? ❯
- До якої категорії належить товар Пружинна шайба М12 DIN 74361 форма С? ❯
- Чи можна замовити доставку для товару Пружинна шайба М12 DIN 74361 форма С? ❯
- Які переваги покупки Пружинна шайба М12 DIN 74361 форма С саме у цього виробника KrepZevs? ❯
- Де можна знайти інші товари, схожі на Пружинна шайба М12 DIN 74361 форма С? ❯
- ВиробникKrepZevs
- НаявністьВ наявності
- Вид шайбиПружинна (гровер)
- Внутрішній діаметр12.5
- Усі характеристики
- Мінімальна сумма замовлення - 2000 грн
- Надійна сировина та обладнання: Компанія використовує перевірену сировину та сучасне обладнання для виробництва кріпильних елементів.
- Дослідна команда: Виробництвом стандартних та спеціальних рішень займається команда професіоналів.
- Співпраця з виробниками: Компанія співпрацює з відповідальними заводами-виробниками з України та Європи.
Шайба М12 DIN 74361 пружинна форма С
Шайби М12 DIN 74361 використовуються в автомобілебудуванні для запобігання мимовільному відкручуванню болтів та гайок із з'єднання. Для виробництва даного виду кріпильних елементів використовується пружинна вуглецева сталь. З метою протистояння корозії в умовах підвищеної вологості на поверхню наноситься захисний шар цинку за допомогою гальванічного способу.
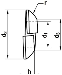
Конструкція шайб DIN 74361 форма С

Технічні характеристики пружинної шайби М12 DIN 74361 (мм)
| Характеристика | Позначення | Значення |
| Внутрішній діаметр | d1 | 12.5 |
| Зовнішній діаметр | d2 | 23 |
| Діаметр верхньої частини | d3 | 14.5 |
| Висота шайби | h | 5 |
| Радіус | r | 12 |
Для того, щоб купити пружинні шайбы DIN 74361 Ви можете скористатися допомогою онлайн менеджера або зателефонувати за телефонами, вказаними на сайті. У зв'язку з постійним розширенням клієнтської бази було запроваджено гнучку систему знижок для постійних покупців. Компанія «Зевс» надає великий асортимент сертифікованої метизної продукції на ринку України. Виконуємо своєчасну та швидку доставку зручним для Вас способом.
Пружинная шайба М12 DIN 74361 форма С
Технічні характеристики
- Вид шайбиПружинна (гровер)
- Внутрішній діаметр12.5
- Зовнішній діаметр23
- Товщина шайби5
- Матеріал шайбиСталь
- Гарантійний термін36
- СтанНове
Відгуків про цей товар ще не було.
