- Які характеристики має товар Пружинна шайба М18 DIN 74361 форма С? ❯
- Яка ціна товару Пружинна шайба М18 DIN 74361 форма С і чи вона актуальна? ❯
- До якої категорії належить товар Пружинна шайба М18 DIN 74361 форма С? ❯
- Чи можна замовити доставку для товару Пружинна шайба М18 DIN 74361 форма С? ❯
- Які переваги покупки Пружинна шайба М18 DIN 74361 форма С саме у цього виробника KrepZevs? ❯
- Де можна знайти інші товари, схожі на Пружинна шайба М18 DIN 74361 форма С? ❯
- ВиробникKrepZevs
- НаявністьВ наявності
- Вид шайбиПружинна (гровер)
- Внутрішній діаметр18.5
- Усі характеристики
- Мінімальна сумма замовлення - 2000 грн
- Надійна сировина та обладнання: Компанія використовує перевірену сировину та сучасне обладнання для виробництва кріпильних елементів.
- Дослідна команда: Виробництвом стандартних та спеціальних рішень займається команда професіоналів.
- Співпраця з виробниками: Компанія співпрацює з відповідальними заводами-виробниками з України та Європи.
Шайба М18 DIN 74361 пружинна форма С
Щоб запобігти мимовільному відгвинчуванню болта або гвинта зі з'єднання необхідно використовувати шайби М18 DIN 74361. Виготовляють вироби з вуглецевої пружинної слалі як з покриттям, так і без. Оцинковане покриття наноситься за допомогою гальванічного способу для протистояння корозії в навколишньому середовищі з підвищеною вологістю.
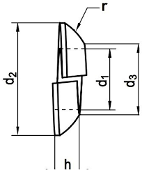
Конструкція шайб DIN 74361 форма С

Технічні характеристики пружинної шайби М18 DIN 74361 (мм):
| Характеристика | Позначення | Значення |
| Внутрішній діаметр | d1 | 18.5 |
| Зовнішній діаметр | d2 | 29 |
| Діаметр верхньої частини | d3 | 20 |
| Висота шайби | h | 7 |
| Радіус | r | 16 |
Для того, щоб купити пружинні шайбы DIN 74361 Ви можете скористатися допомогою онлайн менеджера або зателефонувати за телефонами, вказаними на сайті. У зв'язку з постійним розширенням клієнтської бази було запроваджено гнучку систему знижок для постійних покупців. Компанія «Зевс» надає великий асортимент сертифікованої метизної продукції на ринку України. Виконуємо своєчасну та швидку доставку зручним для Вас способом.
Пружинная шайба М18 DIN 74361 форма С
Технічні характеристики
- Вид шайбиПружинна (гровер)
- Внутрішній діаметр18.5
- Зовнішній діаметр29
- Товщина шайби7
- Матеріал шайбиСталь
- Метричне різьблення, М18
- Гарантійний термін36
- СтанНове
Відгуків про цей товар ще не було.
