- Які характеристики має товар Мотор-редуктор 3МП-40-71-3? ❯
- Яка ціна товару Мотор-редуктор 3МП-40-71-3 і чи вона актуальна? ❯
- До якої категорії належить товар Мотор-редуктор 3МП-40-71-3? ❯
- Чи можна замовити доставку для товару Мотор-редуктор 3МП-40-71-3? ❯
- Які переваги покупки Мотор-редуктор 3МП-40-71-3 саме у цього виробника KrepZevs? ❯
- Де можна знайти інші товари, схожі на Мотор-редуктор 3МП-40-71-3? ❯
- ВиробникKrepZevs
- НаявністьВ наявності
- ТипМотор-редуктор
- Тип редуктораПланетарний
- Усі характеристики
- Мінімальна сумма замовлення - 2000 грн
- Надійна сировина та обладнання: Компанія використовує перевірену сировину та сучасне обладнання для виробництва кріпильних елементів.
- Дослідна команда: Виробництвом стандартних та спеціальних рішень займається команда професіоналів.
- Співпраця з виробниками: Компанія співпрацює з відповідальними заводами-виробниками з України та Європи.
Мотор-редуктор 3МП-40-71-3
Мотор-редуктор 3МП-40-71-3 – перетворювач крутного моменту, що має радіус розташування осей сателітів 40 (мм), частоту обертання вихідного валу 71 об/хв, та оснащений двигуном потужністю 3 кВт (марка АІР90L2). Устаткування випускається у двох варіантах монтажу:
- фланцеве з'єднання;
- на лапах – підвищує жорсткість конструкції, її опірність вібраційним навантаженням.
Популярність редукторів типу 3Мп та їхня успішна конкуренція з імпортним обладнанням пояснюється численними перевагами пристроїв. Це високий ККД, доступна вартість, компактність, тривалий термін служби, простий монтаж та недорогий ремонт.
Мотор-редуктор 3МП-40-71-3 не висуває особливих вимог до умов експлуатації. Його можна встановлювати не лише у приміщенні, а й на відкритому повітрі під навісом. Робочий діапазон температур – від -45 до +45 градусів, вологість повітря – 80%. Робоче середовище має бути невибухонебезпечним та неагресивним, концентрація пилу в повітрі не більше 10мг/м3.
Умови використання мотор-редукторів 3МП-40
|
Характеристика |
Значення |
|
Тип навантаження |
Змінне, постійне |
|
Режим роботи |
Тривалий, з періодичними зупинками |
|
Напрямок обертання тихохідного валу |
Односпрямований або реверсивний |
|
Температурний діапазон |
Від -45 до +45 градусів |
|
Кліматичне виконання |
У, Т, категорія розміщення 2, 3 |
|
Зовнішнє середовище |
Невибухонебезпечне, неагресивне, зміст непровідного пилу не перевищує 10 мг/м3 |
Основні технічні характеристики двоступінчастого мотор-редуктора 3МП 40-71-3:
|
Характеристика |
Значення |
|
Номінальна частота обертання вихідного валу, об/хв |
71 |
|
Номінальний момент, що крутить, на вихідному валу, Н.м. |
375 |
|
Комплектуючий електродвигун, марка |
АІР90L2 |
|
Потужність електродвигуна, кВт |
3 |
|
Допустиме радіально-консольне навантаження на вихідному валу, Н |
4200 |
|
ККД редукторної частини, % |
97 |
|
Маса редукторної частини, кг |
50 |
Купити мотор-редуктори 3МП-40-71-3 оптом та в роздріб пропонує компанія «Зевс». Вартість нашої продукції на 3-10% нижча, ніж у середньому по ринку, оптовим клієнтам надаються знижки. Детальну інформацію про технічні параметри обладнання, умови купівлі та гарантійні зобов'язання надають наші менеджери.
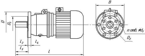
Габаритні і приєднувальні розміри мотор-редукторів 3МП (виконання - на лапах)

|
Позначення мотор-редуктора |
Частота обертання вихідного валу, об/хв |
L |
B |
H |
L 1 |
L 2 |
B 1 |
B 2 |
H 1 |
H 2 |
H 3 |
d1 |
|
Не більше |
||||||||||||
|
3МП-40 |
18 90... |
625 |
250 |
247 |
110 |
170 |
180 |
220 |
112 |
22 |
- |
20 |
Габаритні і приєднувальні розміри мотор-редукторів 3МП (виконання - фланець)

|
Позначення мотор-редуктора |
Частота обертання вихідного валу, об/хв |
L |
B |
L 3 |
L 4 |
L 5 |
D |
D 1 |
D 2 |
d 2 |
n |
|
Не більше |
|||||||||||
|
3МП-40 |
18 90... |
625 |
250 |
6 |
16 |
90 |
200 |
130 |
165 |
15 |
6 |
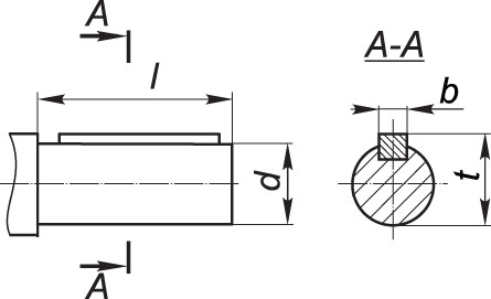
Приєднувальні розміри циліндричних валів мотор-редуктора 3МП

|
Мотор-редуктор |
d |
l |
b |
t |
|
3МП-40 |
35k6 |
80 |
10 |
38 |
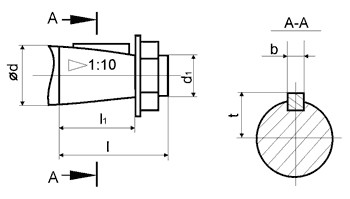
Приєднувальні розміри валів конічних мотор-редуктора 3МП

|
Мотор-редуктор |
d |
D1 |
1 |
11 |
b |
t |
|
3МП-40 |
35 |
М20х1,5 |
80 |
58 |
6 |
18,55 |
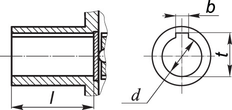
Приєднувальні розміри порожнистих валів мотор-редуктора 3МП

|
Мотор-редуктор |
d |
1 |
b |
t |
|
3МП-40 |
30Н7 |
70 |
8 |
33,1 |
Варіанти складання мотор-редуктора 3МП-40


Мотор-редуктор 3МП-40-71-3
Технічні характеристики
- ТипМотор-редуктор
- Тип редуктораПланетарний
- Кількість робочих ступенів2
- Вага50
- Розташування валів редуктораГоризонтальне
- Спосіб кріпленняна лапки, фланцевий
- Частота обертання вихідного валу71
- Тип робочого навантаженняпостійна, змінна
- Матеріал корпусуСталь|Чугун|Алюміній
- СтанНове
Відгуків про цей товар ще не було.
